收藏91香蕉视频污在线|在線留言|網站地圖

91香蕉视频污在线磁選機歡迎您-香蕉视频三级片|濕式磁選機|永磁筒式磁選機!

91香蕉视频污在线磁電
磁選機和除鐵器行業企業

91香蕉视频污在线谘詢熱線:13869611251

91香蕉视频污在线除鐵器,世界先進技術
當前位置:主頁 > 公司新聞 > >逆流型磁選機的簡圖

逆流型磁選機的簡圖

文章出處:91香蕉视频污在线除鐵器人氣:發表時間:2017-07-30 08:57:39【
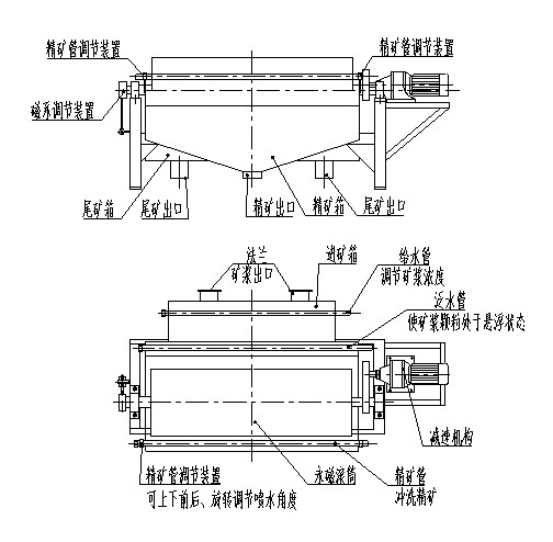
  逆流型磁選機的簡圖,逆流型磁選機給礦箱帶給料管,給料入口段可改善給料的分布,使礦漿沿滾筒全長進料;逆流型磁選機分選區長;無孔塞.全寬圍堰,可調節式尾礦溢流排料,可手動控製液位,允許給礦液流波動.
逆流型磁選機簡圖
逆流型儲槽適用於處理中-高密度介質 - 含固量30%-50%.粒度5mm(4目)的介質,逆流型磁選機儲槽具有回收率極高的特點,處理量高於DW型.但CR型的脫水區短,精選性能較弱.與DM型相比,CR型所回收的介質比重較低.

1.逆流型磁選機的特點


1.1公司開發了砂選鐵磁選機設備,選用Nd-Fe-B複合磁係統精工製造,磁選機在用戶實踐中反複提高除鐵效果,具有大量的加工,高效回收特性.
 
1.2設備節能環保規劃,減少資金,快速獲利.幹砂係列具有振動篩和運輸設備,叉車給料方便,濕砂和濕砂分離兩係列,係列砂泵抽料,也可安裝在采砂船,河流,沙灘,沙,沙等地,不固定任何時間拖曳,90-150立方米的材料或更多.
 
1.3材料篩分後,細砂顆粒以高磁力均勻分布在轉鼓外表麵,高級鐵砂通過高磁力吸附在轉筒表麵,並通過轉盤輸送到下部圓筒.輸送帶到集中區,在此期間非磁性材料,磁效不直接傳輸到尾礦區,達到海鐵鐵提取的目的.

2.逆流型磁選機的簡圖

 
逆流型磁選機簡圖

關注逆流型磁選機簡圖的客戶還關注閱讀了多用磁選機圖片

此文關鍵字:簡圖   磁選機   逆流   

同類文章排行

最新資訊文章